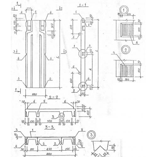
Вентблок ВБ 9-6-5 предназначен для использования в железобетонных конструкциях. Он обеспечивает надежное и эффективное вентилирование помещений, предотвращая скопление влаги и обеспечивая оптимальные условия для сохранения здоровья и комфорта. Вентблоки ВБ широко применяются в строительстве жилых и коммерческих зданий, а также в промышленных сооружениях.









