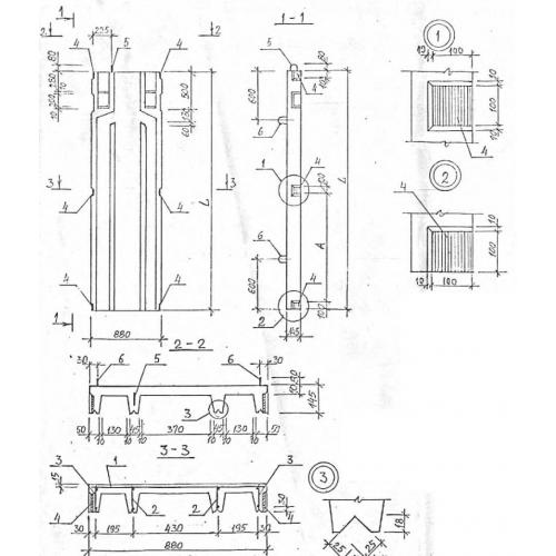
Вентблок 2ВБ 300.9.30 предназначен для использования в железобетонных конструкциях. Он обеспечивает надежную вентиляцию и отвод влаги из помещений, что способствует сохранению здорового микроклимата. Вентблок имеет прочную конструкцию и долгий срок службы, что делает его идеальным выбором для строительства и ремонта зданий.









